A lightweight hierarchical state machine framework in Objective-C.
Features
- Block based API
- Nested states
- Orthogonal regions
- Pseudo states (fork, join and junction)
- External, internal and local transitions with guards and actions
- State switching using least common ancestor algorithm (LCA)
- Thread safe event handling
- Asynchronous event handling
- NSNotificationCenter support
Requirements
- iOS 11.0
- macOS 10.11
Installation
TBStateMachine is available through CocoaPods. To install it, simply add the following line to your Podfile:
Usage
Configuration
#import <TBStateMachine/TBSMStateMachine.h>
Create a state, set enter and exit blocks:
TBSMState *a = [TBSMState stateWithName:@"a"]; a.enterBlock = ^(id data) { }; a.exitBlock = ^(id data) { };
Create a state machine:
TBSMStateMachine *stateMachine = [TBSMStateMachine stateMachineWithName:@"main"];
Add states and set state machine up. The state machine will always set the first state in the given array as the initial state unless you set the initial state explicitly:
stateMachine.states = @[a, b, ...]; stateMachine.initialState = a; [stateMachine setUp:nil];
Event Handling
You can add event handlers which trigger transitions to specified target states:
[a addHandlerForEvent:@"transition_1" target:b];
You can also add event handlers with additional action and guard blocks:
TBSMActionBlock action = ^(id data) { }; TBSMGuardBlock guard = ^BOOL(id data) { return YES; }; [a addHandlerForEvent:@"transition_1" target:b kind:TBSMTransitionExternal action:action guard:guard];
If you register multiple handlers for the same event the guard blocks decide which transition will be fired.
Different Kinds of Transitions
By default transitions are external. To define a transition kind explicitly choose one of the three kind attributes:
TBSMTransitionExternal
TBSMTransitionInternal
TBSMTransitionLocal
Scheduling Events
To schedule the event call scheduleEvent: and pass the specified TBSMEvent instance and (optionally) an object as payload:
TBSMEvent *event = [TBSMEvent eventWithName:@"transition_1" data:aPayloadObject]; [stateMachine scheduleEvent:event];
The payload will be available in all action, guard, enter and exit blocks which are executed until the event is successfully handled.
Enumerating events
If you do not want to write string contants for every event like this:
FOUNDATION_EXPORT NSString * const Transition_1; NSString * const Transition_1 = @"transition_1";
you can use a struct:
FOUNDATION_EXPORT const struct StateMachineEvents { __unsafe_unretained NSString *Transition_1; __unsafe_unretained NSString *Transition_2; } StateMachineEvents; const struct StateMachineEvents StateMachineEvents = { .Transition_1 = @"transition_1", .Transition_2 = @"transition_2" };
And use it like this:
[stateMachine scheduleEventNamed:StateMachineEvents.Transition_1 data:aPayloadObject];
Run-to-Completion
Event processing follows the Run-to-Completion model to ensure that only one event will be handled at a time. A single RTC-step encapsulates the whole logic from evaluating the event to performing the transition to executing guards, actions, exit and enter blocks.
Events will be queued and processed one after the other.
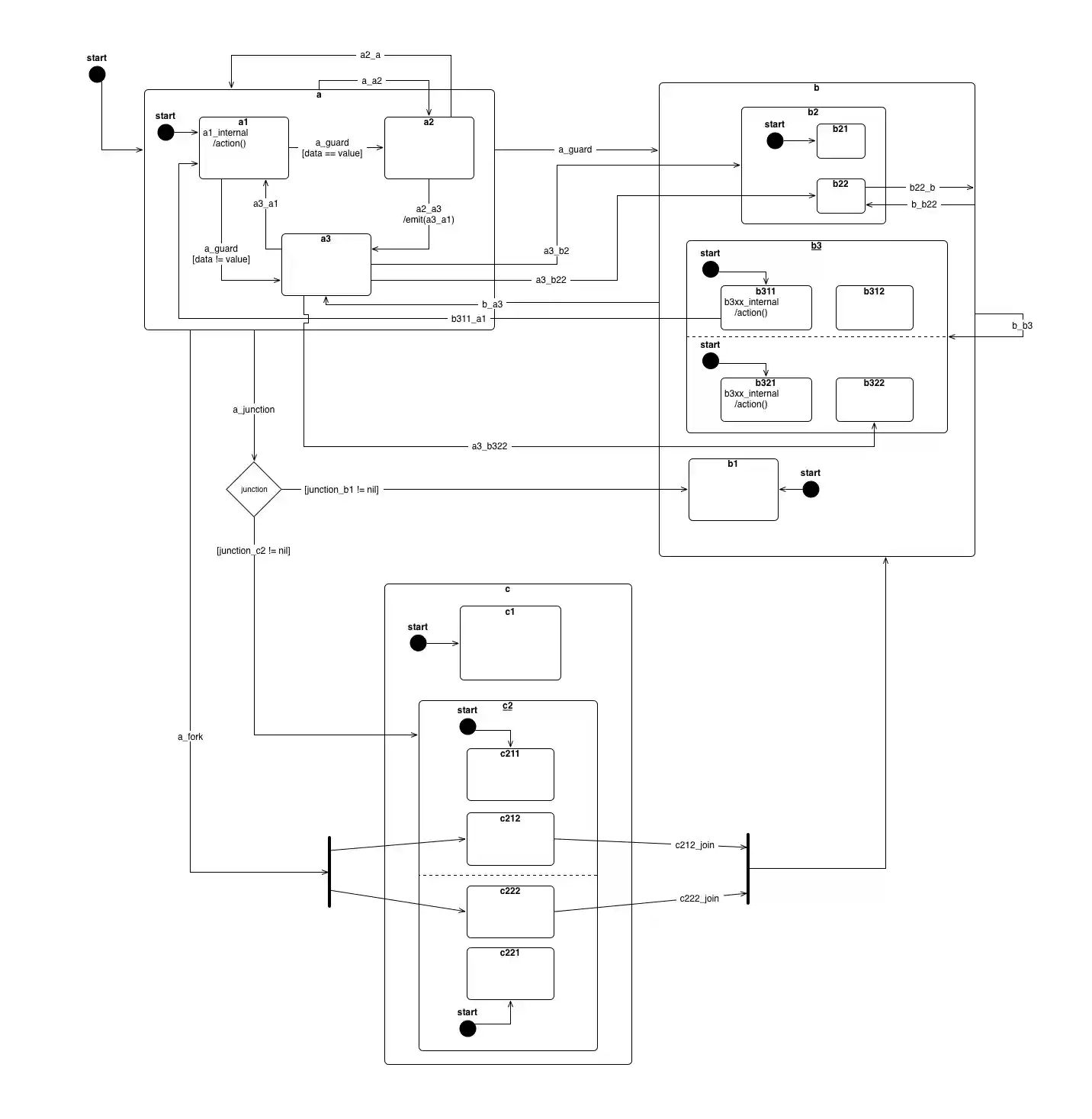
Nested States
TBSMState instances can also be nested by using TBSMSubState:
TBSMSubState *b2 = [TBSMSubState subStateWithName:@"b2"]; b2.states = @[b21, b22];
You can also register events, add enter and exit blocks on TBSMSubState, since it is a subtype of TBSMState.
Orthogonal Regions
To build orthogonal regions you will use TBSMParallelState:
TBSMParallelState *b3 = [TBSMParallelState parallelStateWithName:@"b3"]; b3.states = @[@[b311, b312], @[b321, b322]];
Pseudo States
TBStateMachine supports fork and join pseudo states to construct compound transitions:
Fork
TBSMFork *fork = [TBSMFork forkWithName:@"fork"]; [a addHandlerForEvent:@"transition_15" target:fork]; [fork setTargetStates:@[c212, c222] inRegion:c2];
Join
TBSMJoin *join = [TBSMJoin joinWithName:@"join"]; [c212 addHandlerForEvent:@"transition_16" target:join]; [c222 addHandlerForEvent:@"transition_17" target:join]; [join setSourceStates:@[c212, c222] inRegion:c2 target:b];
Junction
TBSMJunction *junction = [TBSMJunction junctionWithName:@"junction"]; [a addHandlerForEvent:@"transition_18" target:junction]; [junction addOutgoingPathWithTarget:b1 action:nil guard:^BOOL(id data) { return (data[@"goB1"]); }]; [junction addOutgoingPathWithTarget:c2 action:nil guard:^BOOL(id data) { return (data[@"goC2"]); }];
Notifications
TBSMState posts an NSNotification on entry and exit:
- TBSMStateDidEnterNotification
- TBSMStateDidExitNotification
The notification's userInfo contains:
{
TBSMDataUserInfo:theData
}To receive a notification:
[self.stateMachine subscribeToEntryAtPath:@"c/c2@1/c222" forObserver:self selector:@selector(myHandler:)]; [self.stateMachine subscribeToExitAtPath:@"c/c2@1/c222" forObserver:self selector:@selector(myHandler:)]; - (void)myHandler:(NSNotification *)notification { id myPayloadObject = notification.userInfo[TBSMDataUserInfo]; }
TBSMState also posts an NSNotification with the event name when an internal transition has been performed:
[self.stateMachine subscribeToAction:@"transition_10" atPath:@"a/a1" forObserver:self selector:@selector(myHandler:)];
To locate a specified state inside the hierarchy you can use the path scheme seen above. The path consists of names of the states separated by slashes:
In orthogonal regions an @ sign and an index is added to select the particular child region:
Configuration via JSON
Instead of configuring the state machine in code you can define states and transitions via json.
TBSMStateMachineBuilder reads the json file and builds a state machine instance from that:
pod 'TBStateMachine/Builder'
#import <TBStateMachine/TBSMStateMachineBuilder.h> NSString *path = // path to json file TBMSStateMachine *stateMachine = [TBSMStateMachineBuilder buildFromFile:path];
The format of the configuration file can be seen in the test fixtures.
The json of configuration file follows the json-schema defined in Pod/Builder/Schema/schema.json.
For further information to json schema in general see http://json-schema.org.
Thread Safety and Concurrency
TBStateMachine is thread safe. Each event is processed asynchronously on the main queue by default. This makes handling of UIKit components convenient.
To use a dedicated background queue simply set:
NSOperationQueue *queue = [NSOperationQueue new]; queue.name = @"com.myproject.queue"; queue.maxConcurrentOperationCount = 1; stateMachine.scheduledEventsQueue = queue;
Debug Support
TBStateMachine offers debug support through the subspec DebugSupport. Simply add it to your Podfile (most likely to a beta target to keep it out of production code):
target 'MyBetaApp', :exclusive => true do pod 'TBStateMachine/DebugSupport' end
Then include TBSMDebugger.h to the debug the state machine at the top of the hierarchy:
#import <TBStateMachine/TBSMDebugger.h> [[TBSMDebugger sharedInstance] debugStateMachine:stateMachine];
The statemachine will then output a log message for every event, transition, setup, teardown, enter and exit including the duration of the performed Run-to-Completion step:
[Main]: attempt to handle event 'transition_4' data: 12345
[stateA] will handle event 'transition_4' data: 12345
[Main] performing transition: stateA --> stateCc data: 12345
Exit 'a3' data: 12345
Exit 'a' data: 12345
Enter 'b' data: 12345
Enter 'b2' data: 12345
Enter 'b21' data: 12345
[Main]: run-to-completion step took 1.15 milliseconds
[Main]: remaining events in queue: 1
[Main]: (
transition_8
)
When calling -activeStateConfiguration on the debugger instance you will get the current active state configuration of the whole hierarchy:
NSLog(@"%@", [[TBSMDebugger sharedInstance] activeStateConfiguration]);
Main
b
bSubMachine
b2
b2Submachine
b21
Development Setup
Clone the repo and run pod install from the Example directory first. The project contains a unit test target for development.
Useful Theory on UML State Machines
Author
Julian Krumow, julian.krumow@bogusmachine.com
License
TBStateMachine is available under the MIT license. See the LICENSE file for more info.
